1   1  /  1  页   跳转

[求助] 关于tray.exe连接网络的问题

关于tray.exe连接网络的问题

前一阵  我的机器开机时间突然变长,达到5-6分钟,以前一般在1分钟之内,而且会突然卡起来,然后就一直查找原因,今天发现这个tray.exe程序一直读写硬盘是导致卡的原因,后来发现这个。
这个是我的截图 用的QQ截的  是在卡卡的进程管理界面里截取的,请工程师解决下
图片怎么不好发? 请告诉我邮箱  我直接发到你们邮箱里
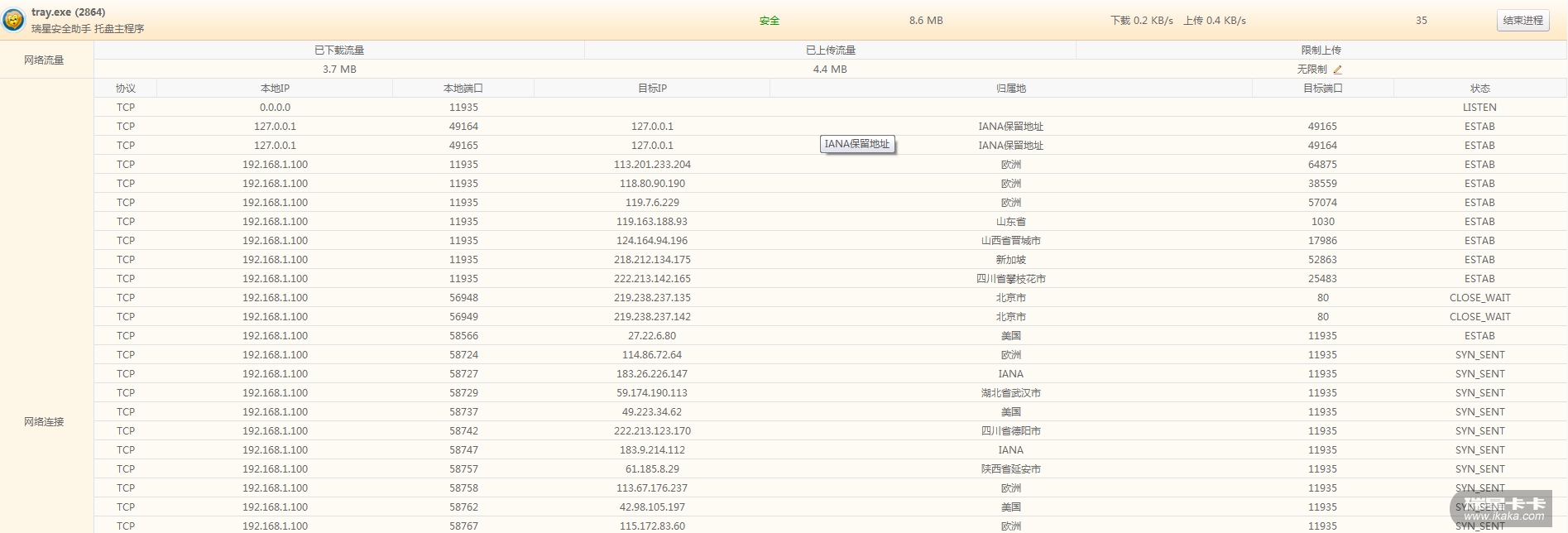
这里我说一下情况  就是tray.exe这个程序 一直在连接网络 地址显示有欧洲  新加坡 美国==  还不停的换。

用户系统信息:Mozilla/5.0 (compatible; MSIE 9.0; Windows NT 6.1; Trident/5.0)
分享到:
gototop
 

回复: 关于tray.exe连接网络的问题

截图刚刚会发  现在补发

附件附件:

下载次数:1207
文件类型:image/x-png
文件大小:
上传时间:2012-2-13 13:53:06
描述:png



gototop
 

回复 1F 浪子无言 的帖子

截图上传方法请您参考此帖:http://bbs.ikaka.com/showtopic-8616820.aspx
图中显示的是正常现象,表示您在联网过程中访问的目标地址不同。
建议您查看tray.exe占CPU是否正常?可以将瑞星安全助手修复尝试。
方法:开始>>程序>>瑞星安全助手>>修复,下一步,将保留用户配置文件的勾选去掉
关于开机启动慢的问题,您是否装有瑞星杀毒软件或瑞星全功能安全软件?
感谢您对瑞星的支持!
最后编辑瑞星工程师12 最后编辑于 2012-02-13 14:27:58
欢迎加入
瑞星杀毒软件QQ群 47032532
瑞星个人防火墙QQ群 204732153
瑞星路由安全卫士QQ群 213941034
瑞星安全WiFi QQ群 81864985
瑞星手机安全助手QQ群 64866930
gototop
 

回复: 关于tray.exe连接网络的问题

是的  装了瑞星防火墙和瑞星杀毒 但是慢到开机5-6分钟也太慢了吧?
gototop
 

回复 4F 浪子无言 的帖子

请您尝试将svchost.exe和services.exe加到系统加固白名单看能否解决开机慢问题?
如果此方法无效,请您补充以下信息:
1.操作系统类型
2.杀毒软件版本
3.是否装有其他安全类软件
感谢您对瑞星的支持!
欢迎加入
瑞星杀毒软件QQ群 47032532
瑞星个人防火墙QQ群 204732153
瑞星路由安全卫士QQ群 213941034
瑞星安全WiFi QQ群 81864985
瑞星手机安全助手QQ群 64866930
gototop
 

回复: 关于tray.exe连接网络的问题

我的问题和他一样一样滴。后台程序转发,电脑卡的——打不开网页、打开程序停止。
gototop
 

回复 6F rsgame282869 的帖子

建议楼主暂时卸载QQ电脑管家,单独安装瑞星观察
如果单独安装瑞星安全助手后,打开网页仍慢,请您尝试删除漏洞扫描下载的补丁和安装目录下的sys隐藏文件夹,查看问题是否会得到解决。
即:1、删除漏洞补丁下载目录下的所有文件:
Windows XP: C:\Documents and Settings\All Users\Application Data\Rising\RSA\DownTemp\
Windows Vista/7: C:\ProgramData\Rising\RSA\DownTemp\
2、删除sys目录下的所有文件: C:\Program Files\Rising\RSA\sys\
感谢您对瑞星的支持!
gototop
 
1   1  /  1  页   跳转
页面顶部
Powered by Discuz!NT