zyzz_520 - 2013-5-20 2:06:00
为什么每次打开瑞星杀毒软件就会跳出来这个


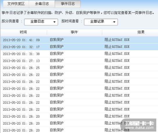
rstray.exe 应该是实时监控的不吧 大写没关系么。针对目标素实时监控的日志文件 那应该素记录吧那为什么会自动阻止呢。。
用户系统信息:Mozilla/4.0 (compatible; MSIE 8.0; Windows NT 5.1; Trident/4.0)附件:
瑞星1.png
zyzz_520 - 2013-5-20 2:22:00
瑞星工程师12 - 2013-5-20 9:03:00
楼主的操作系统类型是什么?32位还是64位的?
瑞星杀毒软件V16版本是多少?
请将瑞星日志db文件导出压缩跟帖上传至论坛。
日志导出方法:鼠标右键托盘处小绿伞图标>>查看日志>>右上角倒三角功能菜单处选择备份日志,将生成的db文件压缩发来。
感谢您使用V16!
zyzz_520 - 2013-5-20 13:18:00
windows xp 的 32位操作系统
版本是24.00.09.88
用户系统信息:Mozilla/4.0 (compatible; MSIE 8.0; Windows NT 5.1; Trident/4.0)附件:
瑞星db文件.zip
networkedition - 2013-5-20 13:33:00
此问题已收集。
© 2000 - 2026 Rising Corp. Ltd.