瑞星卡卡安全论坛

首页 » 企业产品讨论区 » 瑞星2009公测 » 瑞星2009测试版问题反馈 » 瑞星杀毒软件2009公测 » 没有检测到的病毒....
qihuakai - 2008-12-4 9:24:00


用户系统信息:Mozilla/4.0 (compatible; MSIE 6.0; Windows NT 5.1; SV1; .NET CLR 2.0.50727)

附件: Adobe-Acrobat-9-PRO-Extended-Keygen-Only-EDGE-gHanchi2oOo.zip
piao2008 - 2008-12-4 9:30:00
你使用瑞星的当前版本是多少?
qihuakai - 2008-12-4 9:41:00
版本20.73.22
piao2008 - 2008-12-4 9:49:00
我使用多款杀毒软件测试你附件中的文件,不报毒呀。
不会是金山误报了吧??
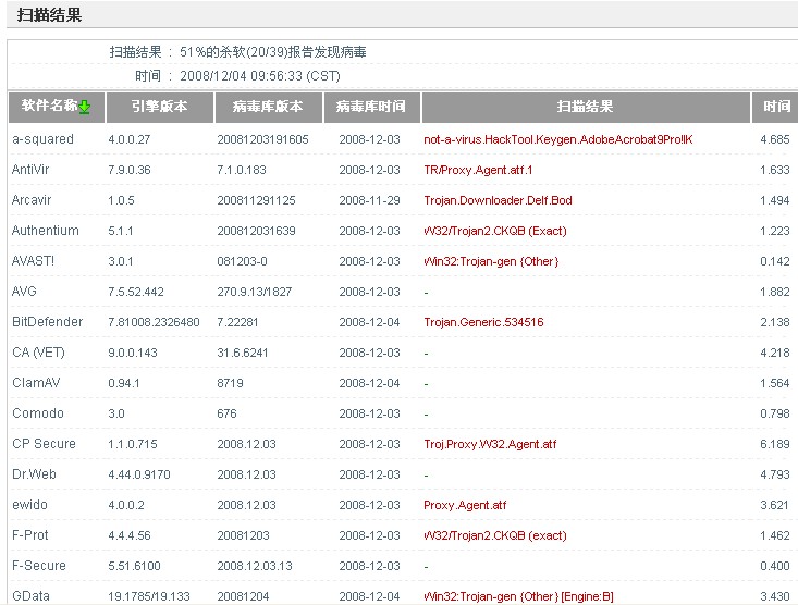
qihuakai - 2008-12-4 9:55:00
不会吧?????你别蒙我了.:default6: 我的扫描结果 :
newcenturymoon - 2008-12-4 10:40:00
有的杀毒软件会将注册机列为病毒  ...
此样本没发现恶意行为
1
查看完整版本: 没有检测到的病毒....