界面模式
登录
注册
会员
帮助
加入收藏夹
客服微信
瑞星卡卡安全论坛
个人产品讨论区
瑞星杀毒软件
瑞星杀毒软件V16+
瑞星自我防护
企业产品讨论区
瑞星安全云终端软件
瑞星ESM防病毒终端安全防护系统
瑞星杀毒软件网络版(含Linux)
瑞星智能沙箱分析/恶意代码威胁监测分析/上网行为管理
瑞星防毒墙5.0、瑞星下一代防火墙
瑞星虚拟化恶意代码防护系统
个人产品讨论区
瑞星之剑
瑞星防病毒安全软件
瑞星杀毒软件
瑞星个人防火墙V16
瑞星AI网络威胁检测引擎、威胁情报及网安知识图谱
瑞星其他产品
技术交流区
反病毒/反流氓软件论坛
可疑文件交流
恶意网站交流
入侵防御(HIPS)
系统软件
硬件交流
综合娱乐区
影音贴图
瑞星安全游戏
活动专区
本站站务区
站务
瑞星“1+2”全新解决方案巡展在广州画上圆满句号
叶院长揭秘:瑞星如何运用AI技术革新网络安全
俄乌冲突加剧网络攻击风险 白俄罗斯政府遭APT攻击
瑞星ESM防病毒系统助力矿业大学筑牢网络安全防线
实力拉满 瑞星第五十次通过VB100测评
携手老友,拥抱新精彩 —— 新论坛新活动,感谢你的陪伴
护航司法,瑞星助力山西省高院构建安全防线
人工智能在网络安全领域的风险和机遇
1
1
/ 1 页
跳转
页
瑞星自我防护
收藏
本主题由 大版主 networkedition 于 2013-5-20 13:26:24 执行 合并主题 操作
zyzz_520
初生襁褓狮
帖子:
23
注册:
2009-05-03
来自:
发表于: 2013-05-20 02:06
|
只看楼主
短消息
资料
字号:
小
中
大
1楼
瑞星自我防护
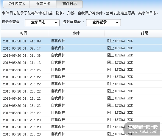
为什么每次打开瑞星杀毒软件就会跳出来这个
瑞星.png
(51.93 K)
2013-5-20 2:06:43
rstray.exe 应该是实时监控的不吧 大写没关系么。针对目标素实时监控的日志文件 那应该素记录吧那为什么会自动阻止呢。。
用户系统信息:Mozilla/4.0 (compatible; MSIE 8.0; Windows NT 5.1; Trident/4.0)
附件:
文件名:
瑞星1.png
下载次数:542
文件类型:image/x-png
文件大小:
上传时间:2013-5-20 2:06:43
描述:png
分享到:
短消息
资料
加为好友
全部帖子
性别:
精华:
0
威望:
46
贡献:
0
金钱:
0
状态:
离线
等级:
zyzz_520
初生襁褓狮
帖子:
23
注册:
2009-05-03
来自:
发表于: 2013-05-20 02:22
|
只看楼主
短消息
资料
字号:
小
中
大
2楼
瑞星自我保护
为什么每次打开瑞星杀毒软件都会跳出来这个。瑞星本身的东西为什么会阻止自己的程序呢。。
瑞星.png
(51.93 K)
2013-5-20 2:22:38
rstray.exe素实时监控程序吧,大小写没关系么??那针对目标也就是日志文件。是记录监控事件的吧 那为什么还会阻止丫
瑞星1.png
(154.19 K)
2013-5-20 2:22:38
上边这个素日志文件......
瑞星2.png
(150.74 K)
2013-5-20 2:22:38
瑞星3.png
(27.58 K)
2013-5-20 2:22:38
用户系统信息:Mozilla/4.0 (compatible; MSIE 8.0; Windows NT 5.1; Trident/4.0)
短消息
资料
加为好友
全部帖子
性别:
精华:
0
威望:
46
贡献:
0
金钱:
0
状态:
离线
等级:
瑞星工程师12
在线技术支持工程师
帖子:
21624
注册:
2008-09-08
来自:
RISING
发表于: 2013-05-20 09:03
|
短消息
资料
字号:
小
中
大
3楼
回复 1F zyzz_520 的帖子
楼主的操作系统类型是什么?32位还是64位的?
瑞星杀毒软件V16版本是多少?
请将瑞星日志db文件导出压缩跟帖上传至论坛。
日志导出方法:鼠标右键托盘处小绿伞图标>>查看日志>>右上角倒三角功能菜单处选择备份日志,将生成的db文件压缩发来。
感谢您使用V16!
欢迎加入
瑞星杀毒软件QQ群 47032532
瑞星个人防火墙QQ群 204732153
瑞星路由安全卫士QQ群 213941034
瑞星安全WiFi QQ群 81864985
瑞星手机安全助手QQ群 64866930
短消息
资料
加为好友
全部帖子
性别:
精华:
1
威望:
44723
贡献:
374
金钱:
0
状态:
离线
等级:
zyzz_520
初生襁褓狮
帖子:
23
注册:
2009-05-03
来自:
发表于: 2013-05-20 13:18
|
只看楼主
短消息
资料
字号:
小
中
大
4楼
RE:瑞星自我保护
windows xp 的 32位操作系统
版本是24.00.09.88
用户系统信息:Mozilla/4.0 (compatible; MSIE 8.0; Windows NT 5.1; Trident/4.0)
附件:
文件名:
瑞星db文件.zip
下载次数:266
文件类型:application/x-zip-compressed
文件大小:
上传时间:2013-5-20 13:18:18
描述:zip
短消息
资料
加为好友
全部帖子
性别:
精华:
0
威望:
46
贡献:
0
金钱:
0
状态:
离线
等级:
networkedition
社区嘉宾
帖子:
36698
注册:
2008-02-28
来自:
发表于: 2013-05-20 13:33
|
短消息
资料
字号:
小
中
大
5楼
回复:瑞星自我防护
此问题已收集。
短消息
资料
加为好友
全部帖子
性别:
精华:
0
威望:
73029
贡献:
1857
金钱:
0
状态:
离线
等级:
<<
上一主题
|
下一主题
>>
1
1
/ 1 页
跳转
页
论坛跳转...
企业产品讨论区
瑞星安全云终端软件
瑞星ESM防病毒终端安全防护系统
瑞星杀毒软件网络版(含Linux)
北方区
华东区
华南区
木马入侵拦截有奖体验专区
瑞星2009版查杀引擎测试
瑞星2009测试版问题反馈
瑞星杀毒软件2009公测
瑞星个人防火墙2009公测
瑞星全功能安全软件2009公测
瑞星智能沙箱分析/恶意代码威胁监测分析/上网行为管理
瑞星防毒墙5.0、瑞星下一代防火墙
瑞星虚拟化恶意代码防护系统
个人产品讨论区
瑞星之剑
瑞星防病毒安全软件
瑞星杀毒软件
瑞星安全联盟论坛
瑞星杀毒软件V16+
V16+新引擎测试专区
瑞星全功能安全软件
瑞星杀毒软件2011
瑞星个人防火墙V16
广告过滤
瑞星个人防火墙2011
瑞星AI网络威胁检测引擎、威胁情报及网安知识图谱
瑞星其他产品
瑞星手机安全助手
瑞星路由安全卫士
路由系统内核漏洞
APP保镖
瑞星安全浏览器
瑞星安全助手
卡卡上网安全助手
瑞星软件管家
瑞星加密盘
账号保险柜5.0
瑞星专业数据恢复
技术交流区
反病毒/反流氓软件论坛
菜鸟学堂
安全技术讨论
可疑文件交流
恶意网站交流
瑞星云安全网站联盟专版
每日网马播报
入侵防御(HIPS)
系统软件
硬件交流
综合娱乐区
Rising茶馆
影音贴图
瑞星安全游戏
凡人修真
华人德州扑克
一球成名
星际世界
神仙道
赢家竞技
梦幻飞仙
三国演义
仙落凡尘
秦美人
攻城掠地
女神联盟
风云无双
傲视九重天
深渊
魅影传说
热血屠龙
雷霆之怒
大天使之剑
传奇霸业
无上神兵
斗破沙城
全民裁决
蛮荒之怒2
活动专区
瑞星积分商城
实习生专区
实习生交流区
实习生签到区
实习生考核区
“安全之狮”校园行活动专版
历史活动
论坛9周年活动专区
关注灾情 同心抗灾
本站站务区
站务
版主之家[限]
禁言禁访记录
待审核
瑞星客户俱乐部[限]
连续13年!瑞星安全软件入选央采项目
在高分屏电脑运行Photoshop CS6,程序界面字体过小的问题有解啦~~~by baohe
Apple ID不设“两步验证”的悲剧 by baohe
在高分屏电脑运行Photoshop CS6,程序界面字体过小的问题有解啦~~~by baohe
玩苹果,你需要了解苹果的ABC by baohe
我的主题
我的帖子
我的精华
我的好友
文本模式