瑞星卡卡安全论坛技术交流区系统软件 求救!刚买的HUB出了问题,请好心高手帮忙

12   1  /  2  页   跳转

求救!刚买的HUB出了问题,请好心高手帮忙

求救!刚买的HUB出了问题,请好心高手帮忙

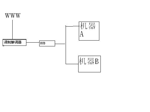
问题是这样,我刚买个HUB,4口的,本打算用A机器做主机,结果我把A机器和B机器都连上HUB后,我的A机器不能拨号上网,出现错误678。
而B机器可以拨号连接,开始我以为连接A机器的网线有问题,后来换过网线之后还是不好用,最后我用A机器直接与猫连,奇怪的是可以拨号上网,就是用HUB连不能拨号,B机器做主机时,A机器也不能找到网络,无法上网。
排除线和连接错误这2个可能性,我怀疑是A机器的系统或者是网卡不支持用HUB?因为A机器单独用猫可以拨号上网。请高手帮我
最后编辑2006-06-26 22:54:58
分享到:
gototop
 

我的HUB有6个口,一个电源口圆形的,一个叫UPLINK,剩下4个口叫1234。我的UPLINK连的是猫,1口连的是A,2连的是B。

都连上后用A拨号不行,用B可以,我把A直接连猫拨号就可以,就是这样。
gototop
 

我现在的工作图是这样,A不能拨号,B可以拨号,我现在就是用B机器上的网

附件附件:

下载次数:180
文件类型:image/pjpeg
文件大小:
上传时间:2006-6-26 22:07:17
描述:



gototop
 

我觉得是我的网卡问题,因为我的网卡是2手旧的,我同学以前在电脑公司干的时候也碰见过这种情况,就是网卡单独连WWW好用,进了局域玩就不好用,我同学说哪个卡是和我一样,2手的,被人做手脚了,我现在的问题就是A,B机器都连上HUB,B机器做主机工作正常,可以拨号上网,A机器不管是拨号还是B机器做主机共享都没有信号,系统提示错误678。
gototop
 

1

附件附件:

下载次数:192
文件类型:image/pjpeg
文件大小:
上传时间:2006-6-26 22:09:29
描述:



gototop
 

2

附件附件:

下载次数:188
文件类型:image/pjpeg
文件大小:
上传时间:2006-6-26 22:09:53
描述:



gototop
 

3

附件附件:

下载次数:174
文件类型:image/pjpeg
文件大小:
上传时间:2006-6-26 22:10:16
描述:



gototop
 

4

附件附件:

下载次数:183
文件类型:image/pjpeg
文件大小:
上传时间:2006-6-26 22:10:37
描述:



gototop
 

你想双机同时上网,按上面的连接是不可能的!

1、除非开启宽带猫的路由功能!

2、主机双网卡!

3、另外加个路由器!
gototop
 

引用:
【ADL的贴子】你想双机同时上网,按上面的连接是不可能的!

1、除非开启宽带猫的路由功能!

2、主机双网卡!

3、另外加个路由器!
...........................

要能详细点就好了,呵呵---
我正在认真学习呢?
gototop
 
12   1  /  2  页   跳转
页面顶部
Powered by Discuz!NT